1、前置仓:实现了物流系统的“时空穿梭”
智慧物流时代,物流大脑利用大数据、云计算、优化运筹等技术,对未来物流需求进行精准预测和智慧分仓,让物流先行,实现了“时空穿梭”,把未来的物流运作需求前置,把货物配送至离客户最近的“前置仓”中。一旦配送需求指令发出,即时从前置仓配送至客户家中。这种“单未下,货先行”的前置仓配送模式,改变了城市物流配送的时空。
目前,前置仓在中国电子商务物流中已经成为常态,在每年的“双十一”网络购物节大促销中,菜鸟、京东等公司都利用了这一技术,把未来前置,把货物提前布局到离客户最近的仓库、门店、货站,大幅度缩短人与货距离,实现了物流配送的快速响应,提高了物流配送效率,满足了物流配送高峰期的市场需求。据分析,原来中国电商包裹平均运距1200公里,大力发展前置仓后平均包裹运距可以降低到500公里左右。【2】
借助于智慧物流的技术,地上与地下的任何空间均可以成为前置仓,并且实现前置仓的云仓互联,信息互通,设施设备的共享、物流运作的互操作。通过前置仓技术,可以将未来零散的物流配送需求进行集约化配送,从而大幅度提升物流配送效率,降低车辆进城次数,实现绿色化配送。
前置仓与传统配送的前置备货储存有本质区别。传统的备货只是把货物分散各地前置储存,由于仓储分散,网点众多,为保证配送需求必将带来大量的无效存货,带来库存成本急剧上升,同时预测失误更会带来大量的库存沉余和退货。
现代“前置仓”配送技术,是架构在智慧物流体系之上的智慧配送,前置仓的存货是基于物联网、大数据、云计算做出的科学预测,大部分货物甚至已经通过电商预售系统进行了锁定,从而会大大减少沉余的无效库存;
其次,现代前置仓是互联互通的云仓系统,前置仓之间可以根据实际的配送需求进行智慧调拨,可以与配送系统实时对接进行及时补货,可以与门店销售互通进行货物调剂,从而杜绝了传统前置备货的各类弊端。
需要说明的是,没有智慧物流支撑和云仓网络系统的库存控制优化,按传统的前置备货理念设置前置仓必然带来很多问题,出现许多所谓的前置仓的“坑”。但这不是智慧前置仓。
2、智慧物流推动物流配送的“空间”变革
(1) 地下物流系统
高速增长的配送需求面临着城市有限的资源和严重拥堵的交通体系制约,推动着城市物流配送的空间变革,带动了世界著名的电子商务物流企业的多角度和多方向的探索。
首先,利用地下空间资源,建立城市地下物流配送中心就是现代城市物流发展的新探索。目前在很多大中型城市,很多地下的商场、配送场站、地下仓库也都得到了应用,地下货物运输系统在很多城市也得到了应用,地上与地下的配送体系互相结合,也在一定程度上推动了城市物流配送的发展。但是,目前很多地下空间的应用还都处于零散和随机状态,国内外各城市还没有建立起来一个体系完善的地下的物流智慧配送体系。
完善的现代城市地下物流系统主要是指运用自动导向车(AGV)、无人卡车等承载工具,通过大直径地下管道、隧道等运输通路,对固体货物实行智慧配送的一种全新概念的物流系统。

图2:地下物流AGV,来源于铁道论坛

图3:地上地下结合的物流配送中心,图片来源于铁道论坛
先进的地下物流配送体系甚至可以与城市住宅建设相结合,借助于地下物流中心的分拣系统,通过与住宅互联互通的包裹自动输送系统,可以直接把包裹配送到住宅客户。参见如下地下物流概念的视频演示:
说明:以上视频来源于网络,转发只为分享
20世纪90年代以来,地下物流配送系统研究受到了国内外的高度重视,并作为未来可持续发展重要技术体系。据悉,目前中国、美国、德国、荷兰、日本等国家都针对地下物流系统进行了可行性、网络规划、工程技术等方面大量的研究。
随着城市化的发展和物流技术的进步,2000年前后,中国工程院钱七虎院士就在我国大力倡导地下物流的研究,2004年我国广州从瑞典引进技术,规划建设了地下垃圾管道输送系统;2014年我国自主研发了“LuGuo种子输送分类贮藏智慧系统”;2015年上海市科委启动《城市地下物流系统规划关键技术研究》;2016年国家自然科学基金启动《新型城镇化导向下的城市地下物流系统集成与管理研究》。2017年中国成立第一个地下物流专业委员会,中国工程院院士钱七虎任地下物流专业委员会名誉主任,上海市政总院资深总师俞明健任常务副主任委员,上海市政总院城交地下院总师范益群任秘书长。2018年以来,菜鸟物流、京东物流等都启动了地下智慧物流配送系统的研究,并致力于推进雄安新区地下物流智慧配送体系的建设。
地下物流系统具有速度快、准确性高等优势,是解决城市交通拥堵、减少环境污染、提高城市货物运输的通达性和质量的重要有效途径。尤其是在人口密度大、可用地面积小的城市,发展地下物流系统有非常重要的现实意义。城市地下物流配送系统可以电子商务平台对接,借助于大型的地下物流配送中心与智能分拣系统,借助于地下管道智能运输系统,实现客户在网上下订单以后,物流中心接到订单后,迅速在地下物流中心进行高速分拣,通过地下管道输送系统和分拣与配送系统直接配送到家,这是比较先进的地下物流智慧配送模式。
当然,中国目前的地下物流系统不可能一步到位,也不可能各城市都建立完善的智慧物流地下配送体系。各地可以因地制宜,利用地下物流智慧配送理念和现有的地下空间与运输体系,把地下空间、地下运输体系与地上资源相互结合,发展适合本地城市的地下物流系统。
例如:探索在地下运输+综合管廊+配送塔发展模式:物品经过地下运输系统运输分拣中心分拣,再经过地下管廊自动配送到商业设施地下仓储中心(toB)或地上与地下结合的社区智能配送塔(toC),客户凭密码或手机在小区配送塔自提包裹;
例如:探索城铁系统+地铁站自提柜模式:这个模式比较现实,容易实现,通过智慧分拣将批量货物配送到城市个地铁站,再简单分拣放入地铁包裹自提货柜,客户下班坐地铁到站后提货回家。等等。
总之,利用智慧物流理论与技术,探索和整合地下空间资源与运输资源,发展地下物流系统,是城市智慧配送的一个重要发展与创新模式。
(2)空中物流系统
在城市物流配送的空间创新与变革领域,除了地下空间的研究与探索之外,国内外物流公司还进行了其他方面的探索与创新,呈现出了“上天、入地、下水”的新局面。
目前,全球先进的电商物流企业、快递配送企业都在进行各种类型的无人机配送探索与实践。国外如:亚马逊、沃尔玛等公司,国内如:菜鸟物流、京东物流、顺丰速运等公司,都在探索和实践无人机配送创新模式,有的公司也在与地方政府合作搭建无人机配送网络。

图4:无人机配送,图片来源于网络
例如:据报道,2018年7月北京多地突降暴雨,密云、怀柔、房山等多部分地区形成地质、洪水灾害,京东物流响应北京市政府防汛救灾部署,通过无人机对急救物资进行简易包装、快速运输、多次投递的方式,跨越被洪水冲垮的桥梁与道路,协助完成急救物资运输配送,有效地辅助了消防官兵进行应急救援。
除了无人机配送网络完成空中配送业务之外,亚马逊和沃尔玛还探索借助于飞艇等飞行设备构建空中漂浮仓,与小型无人机对接,实现空中仓储、分拣与配送,并申请了相关专利。
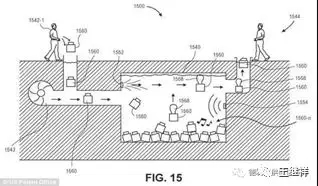
例如:在沃尔玛“漂浮仓库”与配送系统中,漂浮仓(floating warehouse)像一个飞艇,在500-1000英尺(300米以上)的高空中漂浮,需要先在里面放进一定数量的存货,再依照用户需求选择合适的空中位置安放。它既可自主运行,也可通过飞行员遥控操作停放在仓库里的无人机送货。专利示意图如下:

图5:沃尔玛空中无人仓专利示意图
例如:在亚马逊“空中物流中心”解决方案中:亚马逊空中物流中心(airbone fulfillment centers),可搭载大量的货品和带有温控系统的无人机,以期实现大规模、长距离运输的无人机发货功能。空中漂浮的仓库可以移动,这样就可以把仓库随机的布置在离用户最近的区域,成为一种离用户最近的前置仓。专利示意图如下:

图6:亚马逊空中物流中心,图片来源于:机器人库(搜狐号)
(3)水下物流系统
许多大城市都靠近水,城市中也有湖泊等水力资源,如果把仓库建在水下,让仓库距离自己的客户更近,又能够利用水下空间,还能够节省能耗,岂不一举多得。围绕这一想法,亚马逊获最近获得了一项名为“水下存储设施”的专利,利用人造水池或自然水体存储等待发货的商品。该仓库淹没在水下,商品的包装需要防水或需要放到不漏水的容器中,每个容器需要配有通信设备,与网络通信,通过声波振动将物品“召唤”出水面,实现商品的取回。专利中展示了利用湖泊、水库和专门建造的游泳池作为订单处理中心,处理水中货物的多种方法。
亚马逊水下存储设施专利示意图如下:



图7:水下存储设施,图片来源于网络
(4)几种城市物流配送空间资源的优势比较分析
根据上述城市物流系统空间资源创新模式与技术可行性分析,我认为,目前城市空中仓储仅仅是一个设想,实施中会遇到政策与成本等很多难题;城市空中无人机配送在城市核心区和密集居住区也都难以落地;水下仓储技术目前还仅仅处于专利技术探讨阶段,技术突破还需要未来的应用与实践,此外城市大多数地区也没有可利用的合适水资源源。
因此,目前最现实的选择还是地下物流空间的利用,地下物流配送目前世界上已经有很多局部应用案例,也已经有完善的可行性设计,地下空间交通体系已经成熟且发展很快,发展地下物流系统没有技术障碍。
新时代鞋服物流与供应链面临的变革和挑战03月07日 20:38
点赞:这个双11,物流大佬一起做了这件事11月22日 21:43
物流管理机构及政策分布概览12月04日 14:10
盘点:2017中国零售业十大事件12月12日 13:57
2017年中国零售电商十大热点事件点评12月28日 09:58